
概述
在有電流流過的地方都會伴生磁場,為了檢查設備或系統在附近有工頻磁場的情況下,對磁場騷擾的抵抗能力。
工頻磁場的抗擾度試驗,它可用于評價處于工頻( 連續和短時) 磁場中的家用、商用和工業用電氣和電子設備的性能,尤其適合于計算機監視器、電度表等一類對磁場敏感設備的磁場抗擾度試驗。
HMFG 系列性能優異可靠,外形美觀,完全滿足IEC和GB標準,內置脈沖電流發生器, 滿足脈沖磁場測試要求,達到國際一流水平。采用7” TFT 彩色觸摸屏,操作界面簡潔,方便。USB,Ethernet和IEEE 488通訊接口可選,實現遠程微機控制。
產品特點
7英寸觸摸彩屏,
簡潔大方的UI,利于操作
可編輯單個的試驗程序和多個程序的組合
兼容各類磁場天線,
磁場強度:1A/m ~ 1200A/m 最大可到2.2T
適用標準
IEC/EN 61000-4-8,GB/T 17626.8 工頻磁場
測試儀器:
試驗儀器包括一個用以產生磁場的感應線圈;一臺用以供給感應線圈電流的工頻電源。
感應線圈:
感應線圈有三種形式:①方形單獨感應線圈,標準的邊長尺寸為 1m 見方,用于試驗小型設備,場強允差在 3dB 以內的可容試品體積為 0.6m×0.6m×0.5m(h)。②方形雙感應線圈,亦稱霍爾姆茲線圈,標準的邊長尺寸為 1m,兩個并聯線圈之間的距離是 0.8m。采用雙線圈的場強均勻度將好于 3dB。如保持與單線圈同等均勻度時,試品體即可達到 0.6m×0.6m×1m(h)。③對大型柜式設備,線圈應根據試品尺寸和場地不同極化方向來制造。為保證場的均勻度,線圈到試品外殼的最小距離在水平和垂直方向分別為 0.2m和 0.3m。
測試圖
工頻勵磁電源:
工頻勵磁電源由接到電網的電壓調整器和一臺降壓變壓器組成,變壓器為線圈和控制電路供電,以滿足不同試驗要求:①對連續試驗,輸出電流為 1~100A;②對短持續時間試驗,輸出電流為 300~1000A。時間的可設定范圍為 1~3 秒。
試驗配置
試驗的基本配置包括參考接地板、感應線圈與電流發生器。參考接地板是 0.25mm 以上的銅板或鋁板;如采用其他金屬薄板(非鐵磁性物質),其最小厚度為 0.65mm。參考接地板的最小尺寸為 1m×1m;最終尺寸決定于EUT大小。參考接地板與試驗室的安全地接在一起。試品應放在參考接地板上,其間用 0.1m 厚的絕緣物墊起。試品外殼通過試品本身的接地端子與參考接地板連接。試品應使用制造商推薦的電纜(包括電源、控制及信號源的連接電纜)。若沒有推薦,應采用一種適合于EUT設備信號的無屏蔽電纜。所有電纜應有 1m 的長度暴露在磁場中。如果采用濾波器,則應接在離試品 1m 遠的電纜處;濾波器應與參考接地板相連。試驗用電流發生器應放在離線圈不超過 3m 遠的地方,其一端與參考接地板相連。感應線圈應放置在距試驗室墻壁和其他磁性物質至少 1m 遠的地方。感應線圈在做水平極化試驗時,參考接地板可作為線圈的底邊而成為線圈的一部分。
測試
試驗室的背景電磁場至少應比試驗等級低 20dB,否則試驗在法拉第籠內進行。
采用浸入法對試品進行試驗,為測試試品暴露在不同極化方向磁場中的抗干擾性能,應使感應線圈分別旋轉 90°后作同樣試驗。
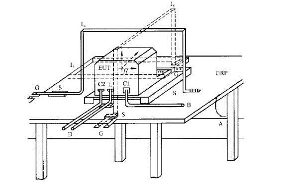
桌面測試設備:
GRP-接地平面;A-安全接地;S-絕緣支座;EUT-受試設備;lC-感應線圈;E-接地端子;
C1-供電回路;C2-信號回路;L-通信線路;B-至電源;D-至信號源、模擬器;G-至試驗發生器
實驗等級
其中:
1 級:有電子束敏感裝置使用的環境。
2 級:保護良好的環境。周圍不存在像電力變壓器這類可產生漏磁通的電氣設備;也不受高壓母線影響的區域。遠離接地保護裝置、工業區和高壓變電所的住宅、辦公室和醫院保護區等地方是這類環境的代表。
3 級:受保護的環境。周圍有可能產生漏磁通或磁場的電氣設備或電纜;在靠近保護接地系統的地方;附近(幾百米內)有高壓、中壓母線的場合。商業區、控制樓、非重工業區及高壓變電所的計算機房可作為這類環境的代表。
4 級:典型的工業環境。旁邊有電力線經過;保護接地系統的接地點;在可能產生漏磁通的大功率電氣設備的旁邊;在相對距離為幾十米的地方有高壓或中壓母線經過。重工業廠礦、發電廠及高壓變電所的控制室可作為這類環境的代表。
5 級:嚴酷的工業環境。旁邊有載流達到數十千安培電流的線路通過;近旁有保護接地系統,或在大功率電氣設備的旁邊。重工業廠礦的開關站、中壓開關站及電廠可作為這類環境的代表。
選型